
ஆப்பிள் நிறுவனம் எலெக்ட்ரிக் கார் மாடலை ஆப்பிள் கார் பெயரில் உருவாக்கி வருவதாக நீண்ட காலமாக தகவல்கள் வெளியாகி வருகின்றன. மேலும் பிராஜக்ட் டைட்டன் பெயரில் இந்த கார் உருவாக்கப்படுவதாகவும் கூறப்படுகிறது. எனினும், இது பற்றி ஆப்பிள் இதுவரை எந்த தகவலையும் வெளியிடவில்லை.
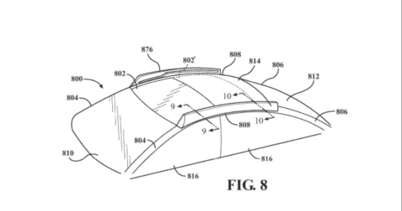
இந்த நிலையில், ஆப்பிள் கார் பற்றிய புது தகவல் இணையத்தில் வெளியாகி உள்ளது. அதில் ஆப்பிள் பதிவு செய்து இருக்கும் காப்புரிமை விவரங்கள் இடம்பெற்று உள்ளது. அமெரிக்க காப்புரிமை மற்றும் டிரேட்மார்க் அலுவலகம் ஆப்பிள் நிறுவனத்திற்கு எலெக்ட்ரிக் காரில் பயன்படுத்தப்பட இருக்கும் சன்ரூஃப் தொழில்நுட்பத்திற்கான காப்புரிமை ஒன்றை வழங்கி இருக்கிறது.
காப்புரிமை விவரங்களுடன் காரின் சன்ரூஃப் போன்றே காட்சியளிக்கும் வரைபடங்களும் இடம்பெற்று இருக்கின்றன. அதில் சன்ரூஃப் எப்படி திறந்து-மூடும் என்பதை தெளிவாக காட்டும் அமைப்பை இந்த தொழில்நுட்பம் கொண்டிருக்கும் என குறிப்பிடப்பட்டு இருக்கிறது. மேலும் சன்ரூஃப் டிரான்ஸ்பேரன்சியை பயனர் விரும்பும் படி மாற்றிக் கொள்ளும் வசதியும் வழங்கப்பட இருப்பது தெரியவந்துள்ளது.
முழுமையாக தானியங்கி முறையில் இயங்கும் திறன் கொண்ட ஆப்பிள் கார் 2025 வாக்கில் அறிமுகம் செய்யப்படும் என கூறப்படுகிறது. இந்த திட்டத்தில் பணியாற்றுவோர் தொடர்ச்சியாக நிறுவனத்தை விட்டு வெளியேறும் பிரச்சினையை ஆப்பிள் சமீப காலங்களில் அதிகளவு எதிர்கொண்டு வருகிறது. இதனாலேயே இந்த திட்டம் எதிர்பார்க்கப்பட்டதை விட தாமதமாகலாம் என கூறப்படுகிறது.
ஸ்மார்ட்போன்கள் மற்றும் AI முதல் சைபர் பாதுகாப்பு, அறிவியல் முன்னேற்றங்கள் வரை — சமீபத்திய தொழில்நுட்ப (Technology News in Tamil) அப்டேட்களை தொடர்ச்சியாக பெறுங்கள். டிஜிட்டல் டிரெண்ட்ஸ் குறித்து நிபுணர்களின் கருத்துகள், விரிவான தகவல்கள் மற்றும் பிரேக்கிங் நியூஸை வழங்கும் ஒரே தளம் ஏஷ்யாநெட் தமிழ் நியூஸ்.புதிய கேஜெட் ரிலீஸ் ஆனதா? புதிய ஸ்டார்ட்அப்புகள் வந்தவையா? எதிர்காலத்தை மாற்றக்கூடிய எந்த டெக் பாலிஸி வந்துள்ளது? இவை அனைத்திற்கும் சிறு சிறு தகவல்கள் இங்கு கிடைக்கும். டெக் விளக்கக் குறிப்புகள் மற்றும் கேஜெட் டெமோ வீடியோக்களையும் நீங்கள் பார்க்கலாம்.